Трап чугунный для паркинга 110/160 - «АстанаСпецИнструмент»
г.Астана, ул.Ш.Жиенкуловой, д.24

Трап чугунный для паркинга 110/160

Трап чугунный для паркинга 110/160

55 000 

Описание

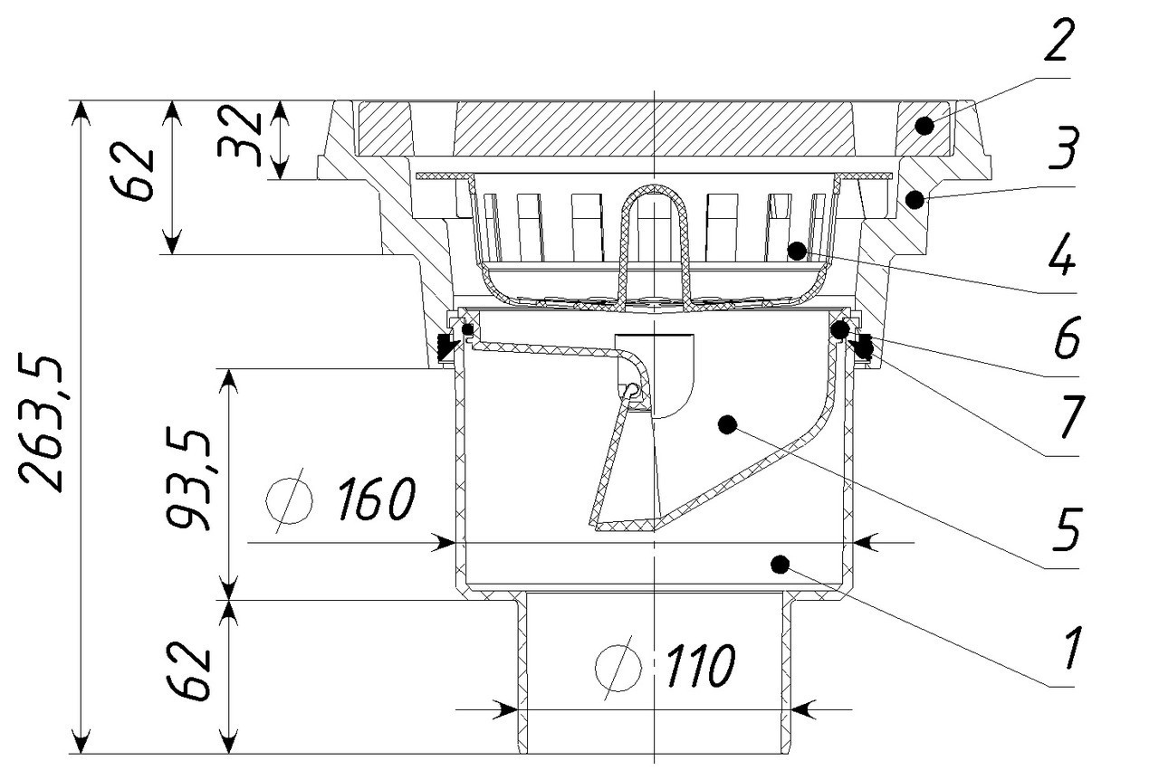
Описание Трап чугунный – начальный элемент системы отвода воды в канализацию или дренажную сеть с уровня пола из производственных и бытовых помещений: прачечных, бань, душевых, подвалов, автомобильных моек, гаражей, котельных и др., где использованная вода попадает непосредственно на пол. Трапы также широко применяются в устройстве наружных ливнестоков. Технические характеристики сырье корпуса, решетки и кольца для сетки-мусоросборника – чугун; сырье для сетки-мусоросборника – полипропилен; выходной диаметр – 110/160 мм; пропускная способность, не менее – 4,2 л/с; температура окружающей среды – от -50 °С до +90 °С; температура отводящей жидкости, не более – +85 °С*; масса нетто, не более – 15 кг; максимальная разрешенная нагрузка, не более – 12500 кг; срок службы, не менее – 50 лет.

Детали

Вид водоотвода

Поверхностный

Тип организованного водоотвода

Наружный

Тип поверхностного водоотвода

Точечный